简体版
|
繁体版
无障碍
支持IPv6
集
首页
水文服务
政务公开
网上办事
水文专题
站网测验
互动交流
5378374
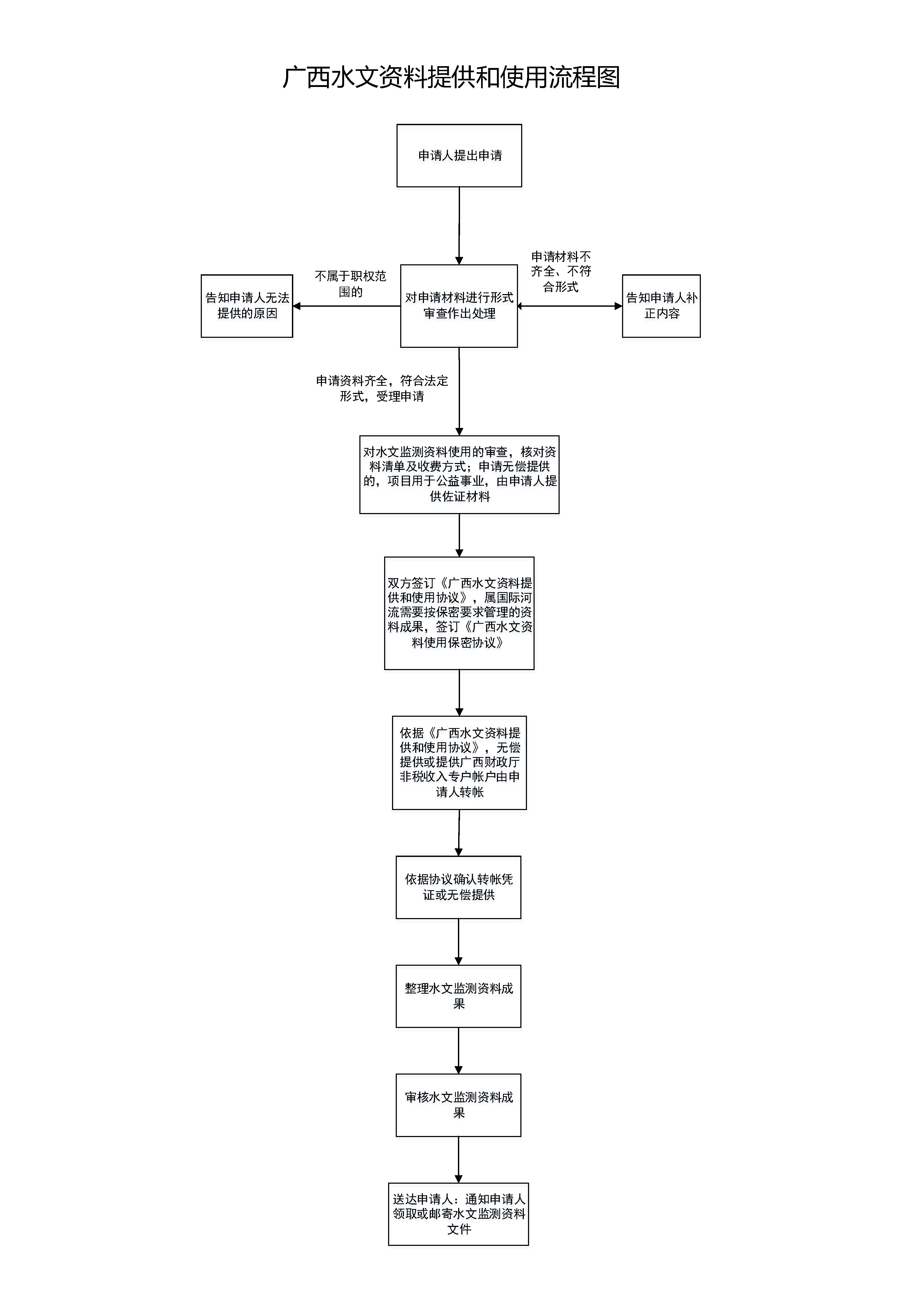
广西水文资料提供和使用流程(线下办理)
20
自治区水文中心站网监测部
2024-10-30
84304
办事程序
当前位置:
首页
>
水文服务
>
资料服务
>
办事程序
广西水文资料提供和使用流程(线下办理)
2024-10-30 09:05 来源:自治区水文中心站网监测部
我要收藏
公共资源调用站点
文章分享
分享
微信
头条
微博
空间
qq
【字体:
大
中
小
】
打印
文件下载:
附件1 广西水文资料提供和使用协议
附件2 广西水文资料使用保密协议
关联文件: